每经记者:刘明涛 每经编辑:彭水萍
随着美联储加息尾声进一步确认,今日全球市场普涨。在A股市场中,新能源板块则全面反弹,稀有金属ETF(159608)和稀有金属ETF(159800)涨幅分别达到2.93%和2.66%,领涨整个ETF市场。值得关注的是,早在10月12日锂电大涨时,稀有金属ETF同样是表现最强的细分赛道,当锂电反弹时,这类ETF或是首选的最佳品种。
投资逻辑方面,锂产业当前仍表现为供需持续偏紧,未来国内的供需情况将持续影响锂价变动,我国锂资源战略地位凸显,同时国内新能源汽车持续快速增长,储能前景广阔,有望成为锂产业第二增长曲线。稀土方面,我国资源优势和产业链优势突出,在电动化叠加智能化趋势下,稀土需求打开长期成长空间,而在供需偏紧背景下,需求推动提振稀土价格持续上扬。

点评:与锂高度相关的稀有金属行业ETF今日走势最强,其中,稀有金属ETF(159608)涨幅最大,半日涨幅达到2.93%,其追踪的指数为中证稀有金属主题指数,另外,还有稀有金属ETF基金(561800)、稀有金属ETF(159800)以及稀有金属ETF基金(159671)三只ETF追踪该指数,这四只ETF中,稀有金属ETF(562800)规模最大,达到21.83亿份,其成交也是目前该行业ETF最为活跃的,半日成交达到7486万元。
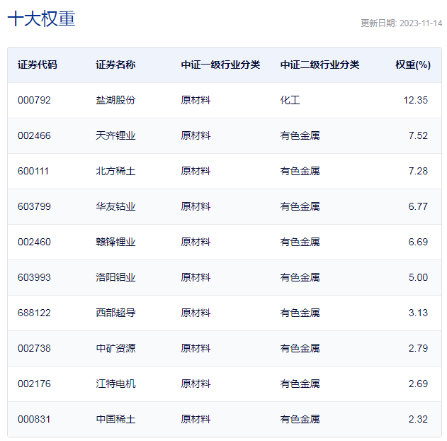
中证稀有金属主题指数在沪深市场中选取不超过50家业务涉及稀有金属采矿、冶炼和加工的上市公司证券作为指数样本,以反映稀有金属主题上市公司证券的整体表现。该指数成分股中锂、稀土和钼总市值最高,权重占比最高。

中证稀有金属主题指数重仓股
点评:除了稀有金属,今日上午表现较强的ETF还有锂电池ETF(561160),其半日涨幅也达到2.5%,该ETF规模较大,达到18.79亿份,上午成交近5000万元,其追踪的是中证电池主题指数。
中证电池主题指数是从沪深市场中选取业务涉及动力电池、储能电池、消费电子电池以及相关产业链上下游的上市公司证券作为指数样本,以反映电池主题上市公司证券的整体表现。目前,追踪中证电池主题指数的ETF还有电池50ETF(159796)、电池ETF基金(562880)以及电池ETF(561910。

中证电池主题指数重仓股
每日经济新闻