【智车派新闻】11月15日,工信部网站发布了小米申报车型公示的详情,小米汽车的定妆照首次曝光。公示信息显示,小米汽车产品商标为小米牌,为纯电动轿车,生产企业为北京汽车集团越野车有限公司,汽车尾部标识为“北京小米”。这一消息标志着小米正式进军汽车市场,为汽车行业注入了新的活力。

自从宣布进军汽车行业以来,小米便在汽车领域积极布局。根据知识产权信息显示,小米汽车科技有限公司已申请上千项汽车相关专利,其中近600项专利已获授权,涉及电机、车辆控制、电池、汽车结构、自动驾驶等汽车软硬件相关领域。这些专利的申请和授权,充分展示了小米在汽车领域的研发实力和技术储备。

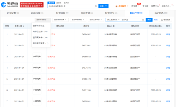
此外,小米科技有限责任公司还申请注册了多个“小米汽车”商标。这些商标涵盖了车辆、零部件以及相关服务等多个类别,当前商标状态多为已注册。这些商标的申请和注册,为小米汽车的未来发展提供了坚实的保障。

目前来看,第一款小米汽车在2024年上半年问世问题不大。对于消费者而言,小米汽车的入局意味着更多的选择和可能。而对于汽车行业而言,小米的加入将加速行业的创新和变革。作为一家以科技创新为核心的公司,小米有望在汽车领域带来新的突破和惊喜。