腾讯已申请QQ短视频商标
南财快讯
2023-12-04 14:04:14

原标题:腾讯已申请QQ短视频商标

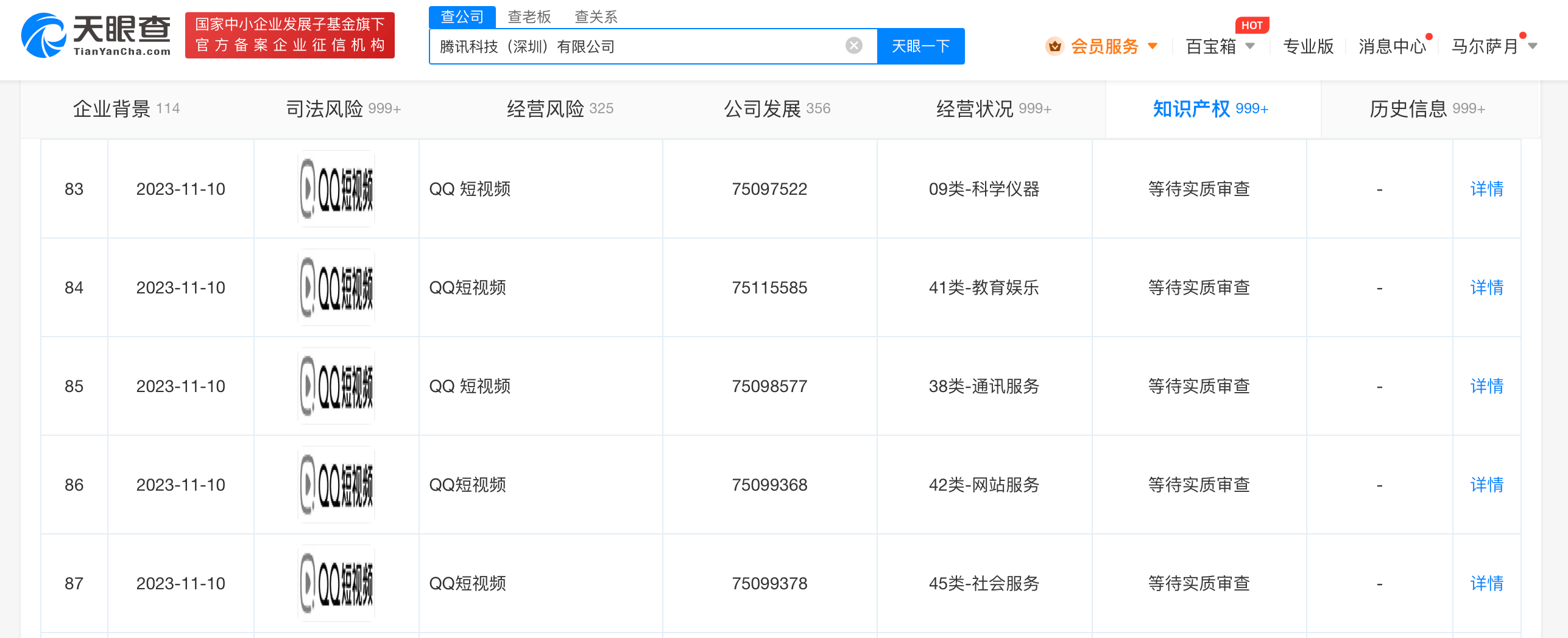
南方财经12月4日电,天眼查App显示,近日,腾讯科技(深圳)有限公司申请注册多枚“QQ短视频”商标,国际分类为通讯服务、教育娱乐、科学仪器等,当前商标状态均为等待实质审查。据媒体近日报道,腾讯QQ的“小世界”产品即将更名为“QQ短视频”,进一步强化其短视频的产品定位。来自QQ内部的消息人士称,目前在整个QQ平台上,有很多用户只看短视频,并不参与聊天。

相关内容

热门资讯

房卡了解“拼三张链接房卡怎么卖... 您好!炸金花链接房卡可以通过以下几种方式购买:打开微信添加客服【78200976】,微信渠道:微信游...
房卡了解“九人金花房卡哪里有卖... 您好!炸金花链接房卡可以通过以下几种方式购买:打开微信添加客服【56001354】,微信渠道:微信游...
房卡了解“九人拼三张房卡怎样购... 您好!炸金花链接房卡可以通过以下几种方式购买:打开微信添加客服【66336574】,微信渠道:微信游...
房卡了解“炸金花房间房间怎么买... 您好!炸金花链接房卡可以通过以下几种方式购买:打开微信添加客服【71319951】,微信渠道:微信游...
房卡了解“微信斗牛房卡怎样购买... 您好!炸金花链接房卡可以通过以下几种方式购买:打开微信添加客服【8488009】,微信渠道:微信游戏...