IT之家 11 月 14 日消息,微软 Win11 23H2 更新中已整合 Copilot AI 功能,在可以预见的未来,微软会进一步深化整合,理解和迎合各种用户的独特偏好和特征。


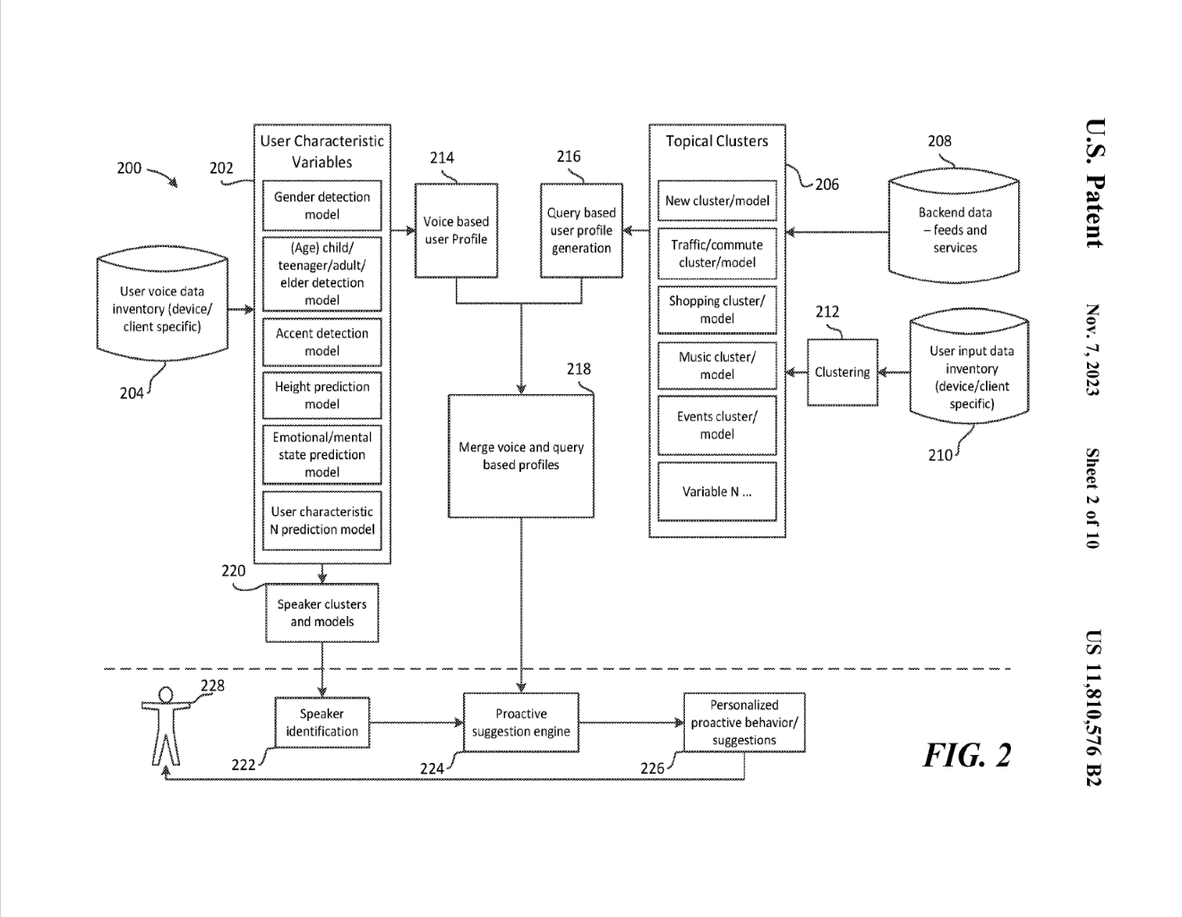
根据美国商标和专利局(USPTO)公示的清单,微软近日获得了一项关于 AI 的最新技术,根据语音内容、声音特征、语言使用以及自然语言处理技术来区分用户。
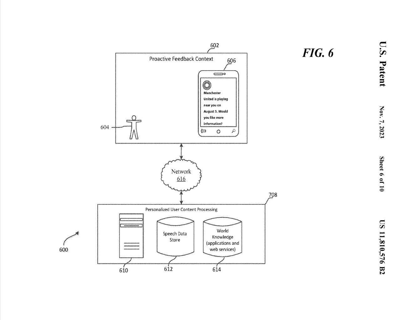
该专利概述的 AI 技术和提供标准化交互的传统 AI 模型不同,可以基于声音等多模态数据,结合每位用户的特征来创建对应的账号文件,可以更加个性化地响应和反馈用户需求。



这项专利适合拥有多名用户的办公等环境下,可以区分不同用户的需求,并提供更直观的交互式计算环境。IT之家在此附上专利原文链接 [PDF],感兴趣的用户可以深入阅读。